Seat Leon >> Repairing brake lines
With the aid of the flaring tool for brake lines - VAS 6056- it is possible to make connections on the ends of the brake lines without damaging the coating. Thus, in certain cases, sections of pipe may be replaced more economically.
| Caution Risk of damage to brake lines.
|
Note
- Preferably separate brake lines at underbody.
- The positions of the intermediate pieces must be selected so that they cannot chafe on moving parts.
- Do not lubricate the edge cutting spindle, use alcohol to clean it.
Special tools and workshop equipment required
- Flanging tool for brake lines - VAS 6056-

List of tools:

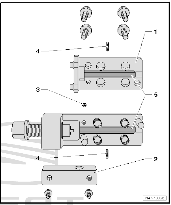
1) The grub screws (in the stem and on the sides of the tool) are pre-set and must not be turned!
Flanging tool (incl. flanging jaws VAS 6056/6)

- - Upper section of the edging
tool
- Unscrew to change flanging jaws.
- - Fastening for handle
- Must be removed to access retaining screw for top section
- - Securing bolt
- For the upper section of the edging tool.
- - Grub screws for flanging
jaws
- Centre and secure the edging clamps
- Hexagon socket head bolt, 2 mm
- - Jaws for flaring tool
- Different
- Assembly instructions
Flanging jaw assembly instructions:
- VAS 6056/6 (dark) for black brake pipes
- VAS 6056/7 (clear) for green brake pipes

Note The arrow on the rounded end of the jaws must face the end of the housing and the straight end of the jaws must face the spindle, otherwise the flared connection on the brake line will not be formed correctly.
Work instructions
- Unbolt relevant brake line at brake caliper or wheel brake cylinder; catch escaping brake fluid and dispose of this as per regulations.
- Cut through brake line at a suitable point (straight, freely accessible section) with pipe cutter -2-.
- Remove the section to be replaced.
- Lubricate the brake pipe surface.

- Fasten brake line between clamping jaws -4- so that it extends approx. 50 mm beyond the jaws.
- Clamp stripper tool for pipe coating -3- in electric drill and apply stripper tool to brake line.
- At slow drill speed and with gentle pressure on brake line, scrape coating off brake line.
The section that must be peeled is defined by the stop on the tool.
- Remove the tool from the brake pipes along with any remains.

- Remove mole grips and slide union screw -D- onto brake line.

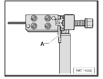
- Insert the brake pipe -B- into the edging tool as far as possible -A-.
Note Brake line must be positioned against stop when the hexagon socket head bolts are tightened, or the flange will not be formed correctly.
C - Allen key

- Clamp brake line in flanging tool until brake line can no longer be moved. Then fold up limit stop -A- and fully tighten socket head bolts in diagonal sequence using Allen key.

- Rotate the spindle completely on the edging tool.
- Unscrew spindle.
- Slacken off socket head bolts in diagonal sequence.
- Take brake line out of flaring tool. Clean and inspect brake line with flared connection.
- Connect brake filling and bleeding equipment - VAS 5234- and briefly flush out section of pipe remaining in vehicle.
- Attach hose of bleeder bottle to flanged connection of brake line and operate brake filling and bleeding equipment - VAS 5234- briefly until some brake fluid has run through.
- Blow out new brake line to be inserted with compressed air.

- Join the brake pipes using a coupling -E-.
- Install brake line.
- Finally, bleed brake system.

Cutting locations
Brake lines on underbody
- Brake line
- Brake hose
- Retaining spring
- Brake hose retainer
Brake line to brake line
When tightening union nut -1-, counter-hold union screw -2-.
...
Hydraulic system
...
See also:
Removing and fitting fresh air blower
control unit - J126-
Removal:
Turn off the ignition and all electricity consumers.
Vehicles without access and start authorisation system
Remove ignition key, if fitted.
Vehicles with access and start author ...
