Seat Leon >> Removing and installing coupling rod (for anti-roll bar)
SEAT Leon Service and Repair Manual / Running gear, axles, steering / Steering / Steering box / Removing and installing coupling rod (for anti-roll bar)
Special tools and workshop equipment required
- Torque wrenches - V.A.G 1332-
- Open-end spanner attachment (38 mm) - V.A.G 1923-
- Ball joint puller - T10187-
- Locking pliers for Phaeton steering box - VAS 6199-

Carry out the following work:
Removing
- Turn steering wheel to straight-ahead position.
- Remove front wheel on affected side.
- Clean outside of steering box in vicinity of boot.
- Loosen nut on track rod ball joint but do not remove completely.
- Using ball joint puller - T10187- -1-, press track rod ball joint off wheel bearing housing, and unscrew nut.
| Caution Leave nut screwed several turns onto track rod ball joint shank to protect thread. |

- Open clamps and push boot back.
- Turn steering as follows:
- For left track rod, turn steering to full left lock.
- For right track rod, turn steering to full right lock.
- Unscrew track rod.
- - Open-end spanner attachment - V.A.G 1923-
- - Torque wrenches - V.A.G 1332-
Note
- Renew complete steering box if there are signs of corrosion, damage, wear or dirt on the steering rack.
- The complete steering box must also be renewed if there is no visible lubricating film on the steering rack.

Installing
Carry out installation in the reverse sequence, noting the following:
| Caution Do not grease steering rack. |
- Make sure that correct track rod ball joint is installed on each side.
I - Track rod ball joint on right marked with an "A"
II - Track rod ball joint on left marked with a "B"
- Turn steering wheel to straight-ahead position.
- Fit new hose clips and rubber boot onto track rod.

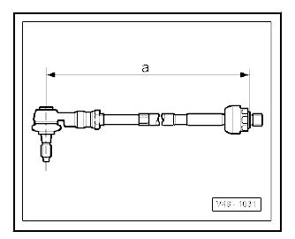
- Screw track rod into track rod ball joint until dimension -a- is attained.
Dimension -a- = 373 +- 1 mm

- Tighten track rod.
- - Open-end spanner attachment - V.A.G 1923-
- - Torque wrenches - V.A.G 1332-
- Lightly grease sealing surface between boot and track rod with grease from repair kit.

- Push rubber boot -2- onto track rod -1- (make sure boot is positioned correctly).
- Secure spring tyre clamps with pliers - V.A.G 1275- to the dustguard.
- Lightly grease sealing surface between boot and steering box housing with grease from repair kit.
- Push rubber boot onto steering box housing as far as it will go.

- Fasten the new clamp using the Pliers for the steering box - VAS 6199- as shown in the diagram.
- Check wheel alignment.
- If both track rods have been exchanged, basic setting must be carried out for steering angle sender - G85- - Vehicle diagnostic tester.
- Then carry out basic setting of steering - Vehicle diagnostic tester.

Dustguard: disassembly and assembly
Special tools and workshop
equipment required
Pliers for clamps - V.A.G
1275-
Torque wrenches - V.A.G
1332-
Tool insert 24 mm - V.A.G
1332/11-
Locking pliers for steering
box - VAS ...
Removing and installing track rod ball
joint
Special tools and workshop equipment required
Ball joint puller - T10187-
Torque wrenches - V.A.G 1332-
Removing
Remove front wheel on affected side.
Loosen nut -1-.
Mark posi ...
See also:
Remove and install footwell light W9 / W10
Special tools and workshop equipment required
Lever - U30800-
Removing
Switch off ignition and all electrical consumers.
Vehicles without access and start authorisation system
Remo ...
