Seat Leon >> Removing and installing dryer bag or cartridge
Removing and installing dryer bag or cartridge, condenser manufacturer: Denso
Special tools and workshop equipment required
- Air conditioner service station
- Engine bung set - VAS 6122-

Removal:
- Turn off the ignition and all electricity consumers.
Vehicles without access and start authorisation system
- Remove ignition key, if fitted.
Vehicles with access and start authorisation system
- Store ignition key outside the vehicle to prevent the ignition from being switched on unintentionally.
Continued for all vehicles
- Extract refrigerant.
- Observe instructions when working on refrigerant circuit.
- Removing front headlights .
- Remove air duct in the lock carrier, remove clamp -1- and unscrew bolt -2- left and right.

Note During installation and removal, differences that exist based on the particular engine type must be taken into account.
- Separate the left and right fasteners -arrows- on the bracket of the holder of the cooler bracket with a side cutter. Press the radiator for coolant lightly from above in the direction of the engine.
Note
- The rubber bush of the radiator will be used later in the
installation.
It is then screwed on together with the lock carrier.
- When these fasteners were previously separated, these screws are to be unscrewed.
- Undo the radiator and tip as far as possible towards the engine

Note The cowl may have to be removed depending on the version of the engine.
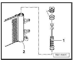
- Unscrew plug -A-.
- Lift the dryer mount -C- with the dryer cartridge -D- out of the condenser.
- Use a claw grip for example to pull the filter element -E- upwards out of the condenser.
- Seal open receiver with plastic screw plug -A- to prevent ingress of dirt and moisture.
Installing
Install in reverse order of removal; note the following.

Note The screw plug, O-ring and dryer cartridge are always to be replaced after opening the receiver.
- Check threads and sealing surfaces of receiver at condenser for contamination or damage via the opening.
Note
- Keep bag with air-tight seal containing dryer cartridge closed as long as possible. Only open bag immediately before inserting dryer cartridge in condenser. After opening bag, dryer cartridge soon becomes saturated with moisture from ambient air and becomes unusable.
- Moisten O-ring of the screw plug with refrigerant oil before fitting.
- Insert the filter element -E- in the correct position in the receiver of the condenser.
- Take the dryer cartridge -D- out of its bag and insert it in the dryer mount -C-.
- Insert the dryer mount together with the dryer cartridge in the receiver of the condenser.
- Fit and screw in the screw plug -A-.
- Refill with refrigerant and refrigerant.

Removing and installing dryer bag or cartridge, condenser manufacturer: Modine
Special tools and workshop equipment required
- Air conditioner service station
- Socket T70 - T10128- for condenser version "2"
- Engine bung set - VAS 6122-

Removal:
- Turn off the ignition and all electricity consumers.
Vehicles without access and start authorisation system
- Remove ignition key, if fitted.
Vehicles with access and start authorisation system
- Store ignition key outside the vehicle to prevent the ignition from being switched on unintentionally.
Continued for all vehicles
- Extract refrigerant.
- Observe instructions when working on refrigerant circuit.
- Removing front headlights.
- Remove air duct in the lock carrier, remove clamp -1- and unscrew bolt -2- left and right.

Note During installation and removal, differences that exist based on the particular engine type must be taken into account.
- Separate the left and right fasteners -arrows- on the bracket of the holder of the cooler bracket with a side cutter. Press the radiator for coolant lightly from above in the direction of the engine.
Note
- The rubber bush of the radiator will be used later in the
installation.
It is then screwed on together with the lock carrier.
- When these fasteners were previously separated, these screws are to be unscrewed.
- Undo the radiator and tip as far as possible towards the engine

Note The cowl may have to be removed depending on the version of the engine.
Condenser version "1":

- Screw out the cap -1-
- Press in the cap -1- slightly.
- Detach the circlip -arrow- and use a suitable metric bolt to pull out the closure cap from the capacitor -2-.

- Make a welding wire (Ø 2 mm) with the following dimensions.
- Dimension -a- = 380 mm
- Dimension -b- = max. 7 mm.
- Dimension -b- = max. 6 mm.

- To prevent damaging the condenser, it is important to hook the welding wire into the strainer as shown in the illustration.
- Use the welding wire -1- to carefully pull the filter element (strainer) -2- out of the receiver.

- Seal the open liquid tank with the plastic screw plug -1- to prevent ingress of dirt and moisture.
Condenser version "2":

- Screw out the protective cap -1- with the socket T70 - T10128- .

- Press in the cap -1- slightly.
- Detach the circlip -arrow- and use a suitable metric bolt to pull out the closure cap from the capacitor -2-.

- Use pointed-nose pliers to pull the dryer unit -1- out of the condenser -2-.
- Seal the open receiver with the cap to prevent the ingress of dirt and moisture.
Installing
Install in reverse order of removal; note the following.

Note The screw plug, O-ring and dryer cartridge are always to be replaced after opening the receiver.
- Check threads and sealing surfaces of receiver at condenser for contamination or damage via the opening.
Version "1":
- Insert the filter element (with strainer) -2- in the correct position
in the receiver of the condenser.
- Make sure the filter element is pressed in as far as it will go.

Note Keep bag with air-tight seal containing dryer cartridge closed as long as possible. Only open bag immediately before inserting dryer cartridge in condenser. After opening bag, dryer cartridge soon becomes saturated with moisture from ambient air and becomes unusable.
- Take the dryer cartridge out of its bag and insert it in the receiver of the condenser.
Version "2":
- Take the dryer unit -1- out of its bag and insert it in the condenser -2-.

All versions (continued):
- Insert the cap -1- and press it downwards until the circlip -arrow- can engage in the groove.
Note Moisten O-ring of the cap with refrigerant oil before fitting .

- Version "1": Press on protective cap.
- Version "2": Screw in protective cap using socket T70 - T10128- .
- Refill with refrigerant and refrigerant oil.

Removing and installing dryer bag or cartridge, condenser manufacturer: Denso, CUPRA versions
Special tools and workshop equipment required
- Air conditioner service station
- Engine bung set - VAS 6122-

Removal:
- Turn off the ignition and all electricity consumers.
Vehicles without access and start authorisation system
- Remove ignition key, if fitted.
Vehicles with access and start authorisation system
- Store ignition key outside the vehicle to prevent the ignition from being switched on unintentionally.
Continued for all vehicles
- Extract refrigerant.
- Observe instructions when working on refrigerant circuit.
- Set the lock carrier to its Service position .
- Removing front headlights .
- Separate the left and right fasteners -arrows- on the bracket of the holder of the cooler bracket with a side cutter. Press the radiator for coolant lightly from above in the direction of the engine.

Note
- The rubber bush of the radiator will be used later in the
installation.
It is then screwed on together with the lock carrier.
Screws.
- When these fasteners were previously separated, these screws are to be unscrewed.
- Undo the radiator and tip as far as possible towards the engine
Note The cowl may have to be removed depending on the version of the engine.
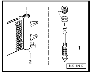
- Unscrew plug -A-.
- Lift the dryer mount -C- with the dryer cartridge -D- out of the condenser.
- Use a claw grip for example to pull the filter element -E- upwards out of the condenser.
- Seal open receiver with plastic screw plug -A- to prevent ingress of dirt and moisture.
Installing
Install in reverse order of removal; note the following.

Note The screw plug, O-ring and dryer cartridge are always to be replaced after opening the receiver.
- Check threads and sealing surfaces of receiver at condenser for contamination or damage via the opening.
Note
- Keep bag with air-tight seal containing dryer cartridge closed as long as possible. Only open bag immediately before inserting dryer cartridge in condenser. After opening bag, dryer cartridge soon becomes saturated with moisture from ambient air and becomes unusable.
- Moisten O-ring of the screw plug with refrigerant oil before fitting.
- Insert the filter element -E- in the correct position in the receiver of the condenser.
- Take the dryer cartridge -D- out of its bag and insert it in the dryer mount -C-.
- Insert the dryer mount together with the dryer cartridge in the receiver of the condenser.
- Fit and screw in the screw plug -A-.
- Refill with refrigerant and refrigerant oil
Installing
Install in reverse order of removal; note the following.

Note
- Screw the rubber bushing of the radiator on to the lock carrier, after you have cut the fasteners -arrows- on the rubber bushing. Screws.
- Even if fitted correctly, there may be slight pressure marks on the radiator and condenser fins. This does not mean that the components are damaged. Neither radiator nor condensers are to be replaced on account of such minor pressure marks.
- Slight bending of the condenser (up to 4 mm) is not a problem as long as there is enough of a gap (at least 4 mm) between the condenser and the radiator, the condenser is still functioning properly and there is no leakage. If there are slight deformations, the condenser does not have to be renewed.
- If the condenser and radiator are no longer parallel as a result
of slight deformation at the securing lugs on the sides of the
condenser (e.g. following an accident), this can be corrected
by bending the lugs back into position, provided that the condenser
is still functioning properly and that there is no leakage.
If the lugs are slightly deformed, the condenser does not have to be renewed.

- Refill with refrigerant and refrigerant oil.
Removing and installing dryer bag or cartridge, condenser manufacturer: Modine, CUPRA versions
Special tools and workshop equipment required
- Air conditioner service station
- Engine bung set - VAS 6122-

Removal:
- Turn off the ignition and all electricity consumers.
Vehicles without access and start authorisation system
- Remove ignition key, if fitted.
Vehicles with access and start authorisation system
- Store ignition key outside the vehicle to prevent the ignition from being switched on unintentionally.
Continued for all vehicles
- Extract refrigerant.
- Observe instructions when working on refrigerant circuit.
- Set the lock carrier to its Service position .
- Removing front headlights .
- Separate the left and right fasteners -arrows- on the bracket of the holder of the cooler bracket with a side cutter. Press the radiator for coolant lightly from above in the direction of the engine.

Note
- The rubber bush of the radiator will be used later in the
installation.
It is then screwed on together with the lock carrier.
Screws.
- When these fasteners were previously separated, these screws are to be unscrewed.
- Undo the radiator and tip as far as possible towards the engine
Note The cowl may have to be removed depending on the version of the engine.
Condenser version "1":

- Screw out the cap -1-
- Press in the cap -1- slightly.
- Detach the circlip -arrow- and use a suitable metric bolt to pull out the closure cap from the capacitor -2-.

- Make a welding wire (Ø 2 mm) with the following dimensions.
- Dimension -a- = 380 mm
- Dimension -b- = max. 7 mm.
- Dimension -b- = max. 6 mm.

- To prevent damaging the condenser, it is important to hook the welding wire into the strainer as shown in the illustration.
- Use the welding wire -1- to carefully pull the filter element (strainer) -2- out of the receiver.

- Seal the open liquid tank with the plastic screw plug -1- to prevent ingress of dirt and moisture.
Condenser version "2":

- Screw out the protective cap -1- with the socket T70 - T10128- .

- Press in the cap -1- slightly.
- Detach the circlip -arrow- and use a suitable metric bolt to pull out the closure cap from the capacitor -2-.

- Use pointed-nose pliers to pull the dryer unit -1- out of the condenser -2-.
- Seal the open receiver with the cap to prevent the ingress of dirt and moisture.
Installing
Install in reverse order of removal; note the following.

Note The screw plug, O-ring and dryer cartridge are always to be replaced after opening the receiver.
- Check threads and sealing surfaces of receiver at condenser for contamination or damage via the opening.
Version "1":
- Insert the filter element (with strainer) -2- in the correct position
in the receiver of the condenser.
- Make sure the filter element is pressed in as far as it will go.
Note Keep bag with air-tight seal containing dryer cartridge closed as long as possible. Only open bag immediately before inserting dryer cartridge in condenser. After opening bag, dryer cartridge soon becomes saturated with moisture from ambient air and becomes unusable.

- Take the dryer cartridge out of its bag and insert it in the receiver of the condenser.
Version "2":
- Take the dryer unit -1- out of its bag and insert it in the condenser -2-.

All versions (continued):
- Insert the cap -1- and press it downwards until the circlip -arrow- can engage in the groove.
Note Moisten O-ring of the cap with refrigerant oil before fitting .

- Version "1": Press on protective cap.
- Version "2": Screw in protective cap using socket T70 - T10128- .
- Refill with refrigerant and refrigerant oil.

Coolant lines on condenser - disconnect
and connect
Special tools and workshop equipment required
Air conditioner service station
Engine bung set - VAS 6122-
Removal:
Turn off the ignition and all electricity consumers.
Vehicles witho ...
Removing and installing damper weight
for refrigerant line, low-pressure side
Special tools and workshop equipment required
Torque wrench - V.A.G 1331/- (5 ... 50 Nm)
Removal:
Note
It is not necessary to remove the refrigerant line in order to
remove and install ...
See also:
Driving programmes
The automatic gearbox / direct shift gearbox (DSG) has three
programmes.
Fig. 119 programme
selection
Selecting the economic programme
– This programme selects a higher gear earlier rather th ...
