Seat Leon >> Remove and install luggage compartment light W3
Special tools and workshop equipment required
- Lever - U30800-

Removing
- Switch off ignition and all electrical consumers.
Vehicles without access and start authorisation system
- Remove ignition key, if fitted.
Vehicles with access and start authorisation system
- Store the ignition key outside the vehicle to prevent the ignition from being switched on unintentionally.
Continued for all vehicles
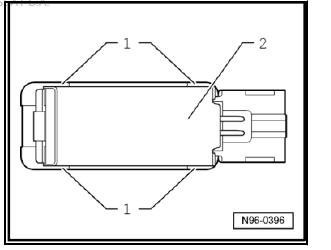
- Press the fixing lugs -1- together using the lever - U30800- and remove the luggage compartment light -3-.
- Unplug the electrical connector -2-.

- Release locking lugs -1- and remove heat shield -2- from light lens.

- Remove bulb -1- from bulb holder -2- on reverse side of luggage compartment light.
Installing
Installation takes place in reverse order.

Installing and removing illuminated make-up mirror W20 / W14
Special tools and workshop equipment required
- Lever - U30800-

Removing
- Switch off ignition and all electrical consumers.
Vehicles without access and start authorisation system
- Remove ignition key, if fitted.
Vehicles with access and start authorisation system
- Store the ignition key outside the vehicle to prevent the ignition from being switched on unintentionally.
Continued for all vehicles
- Swivel sun visor forwards.
- Carefully pry out the light -1- of the make-up mirror using a lever - U30800- applied in the recess -arrow-.
- Disconnect connector.

- Press the contact plate -1- of light by outwards and remove festoon bulb -2- from bulb holder.
Installing
Installation takes place in reverse order.

Remove and install footwell light W9 / W10
Special tools and workshop equipment required
Lever - U30800-
Removing
Switch off ignition and all electrical consumers.
Vehicles without access and start authorisation system
Remo ...
Replacing the bulb for interior light W1 /
W13 / W19, front
Special tools and workshop equipment required
Lever - U30800-
Removing
Switch off ignition and all electrical consumers.
Vehicles without access and start authorisation system
Remo ...
See also:
Checking the engine oil level
The engine oil dipstick indicates the level of the oil.
Fig. 144 Engine oil
dipstick.
Before opening the bonnet, read and observe the warnings
in
“Safety instructions on working in the engin ...
