Seat Leon >> Rear window washer system
Assembly overview - rear window washer system
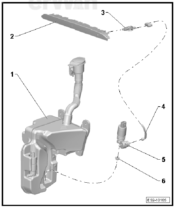
Assembly overview - back windscreen wiper system, vehicles without additional left cooler

- - Windscreen and headlamp
washer reservoir
- Removal and installation
- - Additional brake light
- Removal and installation
- Removing and installing, on spoiler
- - Washer jet
- Removal and installation
- Adjusting
- - Water pipe
- For rear window washer system
- - Windscreen and rear window
washer pump - V59-
- Removal and installation
- - Sleeve
- Renew if damaged.
Assembly overview - back windscreen wiper system, vehicles with additional left cooler

- - Water pipe
- For rear window washer system
- - Washer jet
- Removal and installation
- Adjusting
- - Additional brake light
- Removal and installation
- Removing and installing, on spoiler
- - Filler neck for the window
and headlight washer system
reservoir
- Removal and installation
- - Windscreen and headlamp
washer reservoir
- Removal and installation
- - Sleeve
- Renew if damaged.
- - Windscreen and rear window
washer pump - V59-
- Removal and installation
Removing and installing the spray jet
The spray nozzle is installed in the lamp for the additional brake light - M25- .
Removing
- Remove the High-level brake light bulb - M25- .
- Release both catches -arrows- and pull spray jet -1- to rear out of high-level brake light bulb - M25- .
Installing
- Installation is carried out in reverse order.
- Adjusting spray jet.

Spray jet: adjustment
Note In case of uneven spray field due to impurities within the spray jet: remove spray jet and rinse it through with water, opposite to direction of spray. Blowing through in the opposite direction with compressed air is permitted. Do not use any objects for cleaning spray jets!
Adjustment of the wash jet for rear window washer system.
Rear window wiper system
Assembly overview - rear window wiper system
- M6 securing nut with washer
3 units.
8 Nm
- Washer
3 units.
- Rear windscreen washer
motor - V12-
Removal and install ...
Headlamp washers
...
See also:
Removing and installing door handle
Special tools and workshop equipment required
Hooks - 3438-
Removing
Remove the lock cover of the handle.
Carefully pull handle -2- in direction -arrow a- and remove from
mount -1-.
...
